本實用新型涉及不銹鋼管件技術領域,更具體地說,涉及一種不易阻塞的不銹鋼管件彎頭。

背景技術:
不銹鋼指耐空氣、蒸汽、水等弱腐蝕介質和酸、堿、鹽等化學浸蝕性介質腐蝕的鋼,又稱不銹耐酸鋼,實際應用中,常將耐弱腐蝕介質腐蝕的鋼稱為不銹鋼,而將耐化學介質腐蝕的鋼稱為耐酸鋼,由于兩者在化學成分上的差異,前者不一定耐化學介質腐蝕,而后者則一般均具有不銹性,不銹鋼的耐蝕性取決于鋼中所含的合金元素。
目前,在不銹鋼水管的安裝過程中,彎頭是常用的一種連接用管件,用于管道拐彎處的連接,用來改變管道的方向,彎頭內徑都是等于進水管內徑,水經過彎頭時,水中的雜質燈顆粒會附著在彎頭的內壁上,長期使用后,可能使得彎頭部阻塞。
技術實現要素:
1.要解決的技術問題
針對現有技術中存在的問題,本實用新型的目的在于提供一種不易阻塞的不銹鋼管件彎頭,它可以實現對不銹鋼彎頭部進行清洗,從而減少在使用過程中水中的雜質長期附著在彎頭的內壁上,從而可能減少彎頭部出現阻塞的可能性。
2.技術方案
為解決上述問題,本實用新型采用如下的技術方案。
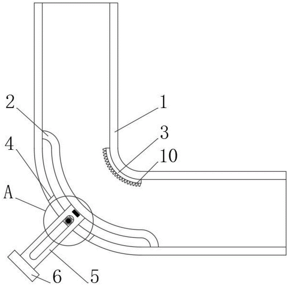
一種不易阻塞的不銹鋼管件彎頭,包括不銹鋼彎頭,所述不銹鋼彎頭內壁固定連接有橡膠保護墊和清洗墊,所述橡膠保護墊位于清洗墊外側,所述不銹鋼彎頭外端開鑿有活動孔,所述活動孔位于橡膠保護墊外側,所述活動孔內插接有移動桿,所述移動桿與橡膠保護墊固定連接,所述移動桿遠離橡膠保護墊的一端固定連接有接觸圓盤,所述活動孔的內壁之間固定連接有轉軸,所述移動桿外端開鑿有條形轉孔,所述轉軸位于條形轉孔內且與條形轉孔間隙配合,所述轉軸和移動桿內部均固定連接有磁鐵塊,兩個所述磁鐵塊相互吸引,可以實現對不銹鋼彎頭部進行清洗,從而減少在使用過程中水中的雜質長期附著在彎頭的內壁上,從而可能減少彎頭部出現阻塞的可能性。
進一步的,所述活動孔的長度略大于移動桿的直徑,所述移動桿的長度略大于不銹鋼彎頭的內徑,通過將活動孔的長度設置成大于移動桿的直徑,可以為移動桿轉動時提供足夠的活動空間,通過將移動桿的長度設置成大于不銹鋼彎頭的內徑,可以在使得移動桿向不銹鋼彎頭內擠壓橡膠保護墊的過程時,使得橡膠保護墊可以接觸到清洗墊。
進一步的,所述移動桿和接觸圓盤均由不銹鋼材質制成,所述移動桿和接觸圓盤表面均涂設有防銹漆,通過使不銹鋼材質制作移動桿和接觸圓盤,并在其表面涂設有防銹漆,可以使得移動桿和接觸圓盤在長期使用的過程中不易被銹蝕,從而可以提高移動桿和接觸圓盤的使用壽命。
進一步的,所述條形轉孔的上下內壁均設置成圓頭狀,所述轉軸和條形轉孔相互接觸處均設有拋光層,通過將條形轉孔的上下內壁設置成圓頭狀,可以使得轉軸在轉動過程中不易損壞,通過設置拋光層,可以使得轉軸和條形轉孔在相互轉動的過程中不易卡塞。
進一步的,所述清洗墊靠近橡膠保護墊的一端固定連接有多個均勻分布的清洗齒,通過設置清洗齒,可以方便在橡膠保護墊接觸到清洗墊時,通過轉動移動桿,使得清洗墊與橡膠保護墊之間相互摩擦,從而可以使得清洗齒對橡膠保護墊表面的雜質進行清洗。
3.有益效果
相比于現有技術,本實用新型的優點在于:
(1)本方案可以實現對不銹鋼彎頭部進行清洗,從而減少在使用過程中水中的雜質長期附著在彎頭的內壁上,從而可能減少彎頭部出現阻塞的可能性。
(2)活動孔的長度略大于移動桿的直徑,移動桿的長度略大于不銹鋼彎頭的內徑,通過將活動孔的長度設置成大于移動桿的直徑,可以為移動桿轉動時提供足夠的活動空間,通過將移動桿的長度設置成大于不銹鋼彎頭的內徑,可以在使得移動桿向不銹鋼彎頭內擠壓橡膠保護墊的過程時,使得橡膠保護墊可以接觸到清洗墊。
(3)移動桿和接觸圓盤均由不銹鋼材質制成,移動桿和接觸圓盤表面均涂設有防銹漆,通過使不銹鋼材質制作移動桿和接觸圓盤,并在其表面涂設有防銹漆,可以使得移動桿和接觸圓盤在長期使用的過程中不易被銹蝕,從而可以提高移動桿和接觸圓盤的使用壽命。
(4)條形轉孔的上下內壁均設置成圓頭狀,轉軸和條形轉孔相互接觸處均設有拋光層,通過將條形轉孔的上下內壁設置成圓頭狀,可以使得轉軸在轉動過程中不易損壞,通過設置拋光層,可以使得轉軸和條形轉孔在相互轉動的過程中不易卡塞。
(5)清洗墊靠近橡膠保護墊的一端固定連接有多個均勻分布的清洗齒,通過設置清洗齒,可以方便在橡膠保護墊接觸到清洗墊時,通過轉動移動桿,使得清洗墊與橡膠保護墊之間相互摩擦,從而可以使得清洗齒對橡膠保護墊表面的雜質進行清洗。
附圖說明
圖1為本實用新型的整體的剖面圖;
圖2為圖1中a處的結構示意圖;
圖3為本實用新型的移動桿部分的立體圖。
圖中標號說明:
1不銹鋼彎頭、2橡膠保護墊、3清洗墊、4活動孔、5移動桿、6接觸圓盤、7轉軸、8條形轉孔、9磁鐵塊、10清洗齒。
具體實施方式
下面將結合本實用新型實施例中的附圖,對本實用新型實施例中的技術方案進行清楚、完整地描述;顯然,所描述的實施例僅僅是本實用新型一部分實施例,而不是全部的實施例,基于本實用新型中的實施例,本領域普通技術人員在沒有做出創造性勞動前提下所獲得的所有其他實施例,都屬于本實用新型保護的范圍。
在本實用新型的描述中,需要說明的是,術語“上”、“下”、“內”、“外”、“頂/底端”等指示的方位或位置關系為基于附圖所示的方位或位置關系,僅是為了便于描述本實用新型和簡化描述,而不是指示或暗示所指的裝置或元件必須具有特定的方位、以特定的方位構造和操作,因此不能理解為對本實用新型的限制。此外,術語“第一”、“第二”僅用于描述目的,而不能理解為指示或暗示相對重要性。
在本實用新型的描述中,需要說明的是,除非另有明確的規定和限定,術語“安裝”、“設置有”、“套設/接”、“連接”等,應做廣義理解,例如“連接”,可以是固定連接,也可以是可拆卸連接,或一體地連接;可以是機械連接,也可以是電連接;可以是直接相連,也可以通過中間媒介間接相連,可以是兩個元件內部的連通。對于本領域的普通技術人員而言,可以具體情況理解上述術語在本實用新型中的具體含義。
實施例1:
請參閱圖1-3,一種不易阻塞的不銹鋼管件彎頭,包括不銹鋼彎頭1,不銹鋼彎頭1內壁固定連接有橡膠保護墊2和清洗墊3,橡膠保護墊2與不銹鋼彎頭1的內壁之間密封連接,橡膠保護墊2由彈性較好的橡膠材質制成,橡膠保護墊2位于清洗墊3外側,不銹鋼彎頭1外端開鑿有活動孔4,活動孔4位于橡膠保護墊2外側,活動孔4內插接有移動桿5,移動桿5與橡膠保護墊2固定連接,移動桿5的作用還體現在當彎頭部阻塞時,先向內按壓移動桿5,使得阻塞物被擠壓變形,再通過向外拉移動桿5,可以增加橡膠保護墊2和清洗墊3之間的空間,再反復繞著轉軸7轉動移動桿5,可以使得阻塞物排出,移動桿5遠離橡膠保護墊2的一端固定連接有接觸圓盤6,活動孔4的內壁之間固定連接有轉軸7,移動桿5外端開鑿有條形轉孔8,轉軸7位于條形轉孔8內且與條形轉孔8間隙配合,轉軸7和移動桿5內部均固定連接有磁鐵塊9,兩個磁鐵塊9相互吸引,可以實現對不銹鋼彎頭部進行清洗,從而減少在使用過程中水中的雜質長期附著在彎頭的內壁上,從而可能減少彎頭部出現阻塞的可能性。
請參閱圖1-2,活動孔4的長度略大于移動桿5的直徑,移動桿5的長度略大于不銹鋼彎頭1的內徑,通過將活動孔4的長度設置成大于移動桿5的直徑,可以為移動桿5轉動時提供足夠的活動空間,通過將移動桿5的長度設置成大于不銹鋼彎頭1的內徑,可以在使得移動桿5向不銹鋼彎頭1內擠壓橡膠保護墊2的過程時,使得橡膠保護墊2可以接觸到清洗墊3,移動桿5和接觸圓盤6均由不銹鋼材質制成,移動桿5和接觸圓盤6表面均涂設有防銹漆,通過使不銹鋼材質制作移動桿5和接觸圓盤6,并在其表面涂設有防銹漆,可以使得移動桿5和接觸圓盤6在長期使用的過程中不易被銹蝕,從而可以提高移動桿5和接觸圓盤6的使用壽命。
請參閱圖3,條形轉孔8的上下內壁均設置成圓頭狀,轉軸7和條形轉孔8相互接觸處均設有拋光層,通過將條形轉孔8的上下內壁設置成圓頭狀,可以使得轉軸7在轉動過程中不易損壞,通過設置拋光層,可以使得轉軸7和條形轉孔8在相互轉動的過程中不易卡塞,清洗墊3靠近橡膠保護墊2的一端固定連接有多個均勻分布的清洗齒10,通過設置清洗齒10,可以方便在橡膠保護墊2接觸到清洗墊3時,通過轉動移動桿5,使得清洗墊3與橡膠保護墊2之間相互摩擦,從而可以使得清洗齒10對橡膠保護墊2表面的雜質進行清洗。
當不銹鋼彎頭1內未被阻塞時,第一步,操作者使用手捏住接觸圓盤6,將移動桿5向活動孔4內按壓,使得橡膠保護墊2靠近清洗墊3,直至橡膠保護墊2接觸到清洗墊3,第二步,操作者保持橡膠保護墊2與清洗墊3緊密相抵的狀態,并捏住接觸圓盤6反復擺動,使得移動桿5繞著轉軸7進行鐘擺運動,從而使得橡膠保護墊2與清洗墊3相互摩擦,從而對橡膠保護墊2表面附著的雜質進行清洗,當不銹鋼彎頭1內已經阻塞時,先向內按壓移動桿5,使得阻塞物被擠壓變形,再通過向外拉移動桿5,可以增加橡膠保護墊2和清洗墊3之間的空間,再反復繞著轉軸7擺動移動桿5,可以使得阻塞物排出,與現有技術相比,本實用新型可以實現對不銹鋼彎頭部進行清洗,從而減少在使用過程中水中的雜質長期附著在彎頭的內壁上,從而可能減少彎頭部出現阻塞的可能性。
以上所述,僅為本實用新型較佳的具體實施方式;但本實用新型的保護范圍并不局限于此。任何熟悉本技術領域的技術人員在本實用新型揭露的技術范圍內,根據本實用新型的技術方案及其改進構思加以等同替換或改變,都應涵蓋在本實用新型的保護范圍內。
技術特征:
1.一種不易阻塞的不銹鋼管件彎頭,包括不銹鋼彎頭(1),其特征在于:所述不銹鋼彎頭(1)內壁固定連接有橡膠保護墊(2)和清洗墊(3),所述橡膠保護墊(2)位于清洗墊(3)外側,所述不銹鋼彎頭(1)外端開鑿有活動孔(4),所述活動孔(4)位于橡膠保護墊(2)外側,所述活動孔(4)內插接有移動桿(5),所述移動桿(5)與橡膠保護墊(2)固定連接,所述移動桿(5)遠離橡膠保護墊(2)的一端固定連接有接觸圓盤(6),所述活動孔(4)的內壁之間固定連接有轉軸(7),所述移動桿(5)外端開鑿有條形轉孔(8),所述轉軸(7)位于條形轉孔(8)內且與條形轉孔(8)間隙配合,所述轉軸(7)和移動桿(5)內部均固定連接有磁鐵塊(9),兩個所述磁鐵塊(9)相互吸引。
2.根據權利要求1所述的一種不易阻塞的不銹鋼管件彎頭,其特征在于:所述活動孔(4)的長度略大于移動桿(5)的直徑,所述移動桿(5)的長度略大于不銹鋼彎頭(1)的內徑。
3.根據權利要求1所述的一種不易阻塞的不銹鋼管件彎頭,其特征在于:所述移動桿(5)和接觸圓盤(6)均由不銹鋼材質制成,所述移動桿(5)和接觸圓盤(6)表面均涂設有防銹漆。
4.根據權利要求1所述的一種不易阻塞的不銹鋼管件彎頭,其特征在于:所述條形轉孔(8)的上下內壁均設置成圓頭狀,所述轉軸(7)和條形轉孔(8)相互接觸處均設有拋光層。
5.根據權利要求1所述的一種不易阻塞的不銹鋼管件彎頭,其特征在于:所述清洗墊(3)靠近橡膠保護墊(2)的一端固定連接有多個均勻分布的清洗齒(10)。
技術總結
本實用新型公開了一種不易阻塞的不銹鋼管件彎頭,屬于不銹鋼管件技術領域,一種不易阻塞的不銹鋼管件彎頭,包括不銹鋼彎頭,不銹鋼彎頭內壁固定連接有橡膠保護墊和清洗墊,橡膠保護墊位于清洗墊外側,不銹鋼彎頭外端開鑿有活動孔,活動孔位于橡膠保護墊外側,活動孔內插接有移動桿,移動桿與橡膠保護墊固定連接,移動桿遠離橡膠保護墊的一端固定連接有接觸圓盤,活動孔的內壁之間固定連接有轉軸,移動桿外端開鑿有條形轉孔,轉軸位于條形轉孔內且與條形轉孔間隙配合,可以實現對不銹鋼彎頭部進行清洗,從而減少在使用過程中水中的雜質長期附著在彎頭的內壁上,從而可能減少彎頭部出現阻塞的可能性。